Chapter 3. ANTENNA INSTALLATIONS
 
36. PERFORMANCE.

For proper performance, it is important that the radio equipment manufacturer's instructions be carefully followed in matching and coupling the antenna to the radio equipment.

a. The location of the antenna is of primary importance. When selecting a mounting position, consideration should be given but not limited to the following:

(1) Obstruction to signal reception by aircraft or aircraft components.
(2) Ignition noise (RF radiation pickup).
(3) Vibration.
(4) Flutter.
(5) Instrument static source interference.

b. Attach antenna mounting (masts, base receptacles, and/or supporting brackets) so that the loads imposed (for example, air, ice, etc.) are transmitted to the aircraft structure.

37. VHF ANTENNA - WHIP.

a. Locate this type antenna so that there is a minimum of structure between it and the ground radio stations. The antenna may be mounted on the top or bottom of the fuselage. It is not advisable to mount the antenna on the cowl forward of the windshield because a lightning strike might possibly blind the pilot.

b. Methods of securing whip antennas to the structure are shown in figures 3.1 and 3.3.

c. On fabric covered aircraft or aircraft with other types of nonmetallic skin, the manufacturer's recommendations should be followed in order to provide the necessary ground plane. An acceptable method of accomplishing this is by providing a number of metal foil strips in a radial position from the antenna base and secured under the fabric or wood skin of the aircraft. (See figure 3.2)

38. VHF ANTENNA - RIGID.

a. When it is necessary to cover a broader frequency range than can be covered by a whip antenna, a blade type should be used because it is resonant over a much broader frequency range. However, a broadband antenna is not as efficient as a small diameter whip antenna and, accordingly, should not be used with relatively low output transmitters (under 5 watts).

(1) The antennas shown in figure 3.4 are normally installed at a point on the fuselage directly above the cabin or baggage compartment.

When a rigid antenna is installed on the vertical stabilizer, evaluate the flutter and vibration characteristics of the installation.

(2) The approximate drag load an antenna is required to withstand can be determined by the following formula:

D = 0.000327 x A x V^2

(The formula includes a 90 percent reduction factor for streamline shape of antenna.)

Where D is the drag load on the antenna in pounds,
                   A is the frontal area of the antenna in square feet, and
                   V is the Vne of the aircraft in mph.

The frontal area of typical antennas are approximately as follows:
 

b. Installation of Rigid Antennas.

(1) Place a template similar to figure 3.5 on the fore-and-aft centerline at the desired location. Drill the mounting holes and the correct diameter hole for the transmission line cable in the fuselage skin.

(2) Install a reinforcing doubler of sufficient thickness to reinforce the aircraft skin. The length and width of the plate should approximate that illustrated in figures 3.6 or 3.8.

(3) Install antenna on fuselage, making sure that the mounting bolts are tightened firmly against the reinforcing doubler, and that the mast is drawn tight against the gasket.

When a gasket is not used, seal the crack between the mast and fuselage with a sealer, such as zinc chromate paste or equivalent.

(4) Route transmission line cable to the receiver, secure the cable firmly along its entire length at intervals of approximately 2 feet, and take care to prevent fouling of control cables.

39. VHF NAVIGATION RECEIVING ANTENNAS.

Locate antennas for omnirange (VOR), and instrument landing system (ILS) localizer receivers at a position on the aircraft where they will have the greatest sensitivity for the desired signals and minimum response to undesired signals such as electrical energy radiated by the engine ignition system. A good location for the VOR localizer receiving antenna on many small

airplanes is over the forward part of the cabin. Mount the rigid V-type antenna so that the apex of the "V" points forward and the plane of the "V" is level in normal flight. {See Figure 3.7.}

a. VOR Antenna Balun and Transmission Lines.

A dual element or balanced antenna system requires a balun or an impedance matching device for maximum signal transfer into an unbalanced coaxial cable. Rigid antennas, as displayed in figure 3.4, incorporate a balun as an integral component of the antenna assembly. Follow the manufacturer's installation procedures and assure that the balun is properly grounded to the airframe. Refer to AC 43.13-1A "Acceptable Methods, Techniques, and Practices - Aircraft Inspection and Repair" chapter 11, for acceptable bonding practices. {See Figure 3.9.}

(1) {(2) in original - Ed.} Figure 3.10 is an illustration of a typical VOR antenna balun. A balun made from a section of the transmission line functions as a tuned circuit or transformer which produces a standing wave ratio to provide the desired matching impedance. When the antenna is matched to the line, the line measurement in multiples of wave lengths is not critical.

(2) Radio wave velocity is less in a cable than in air; therefore, the wave length in cable will be shorter than in air. Appropriate test equipment must be used for transmission line measurements because the physical and electrical lengths of lines are not always equal.

(3) The transmission line should be kept as short as possible. Any bends in the cable should have at least a 3 inch radius. Follow the equipment manufacturer's recommendations regarding transmission lines and lengths.

b. Assembly of Coaxial Cable Connectors.

Optimum performance of a radio system is dependent upon the coaxial cable connector assembly. Follow the manufacturer's assembly instructions. Assure that the cable is not distorted or flattened when cutting. The electrical characteristics of the cable change when flattened or bent sharply.

(1) To remove the outer jacket, cut with a sharp knife around the circumference, then make a lengthwise slit and peel off the outer jacket. Do not nick, cut or damage the shield.

(2) Comb out the braid and bend back to expose the dielectric. Use a sharp knife to cut the dielectric around the circumference, not quite through to the center conductor. Do not nick or cut the conductor. Remove the dielectric by twisting and pulling. {See Figure 3.11.}

(3) Solder the contact to the center conductor. Use a clean, well-tinned soldering iron. {See Figure 3.12.}

(4) Do not apply heat too long as this will swell the dielectric and make it difficult to insert into the body of the connector.
{See Figure 3.13.}

(5) Install connector body and tighten until secure. Do not over tighten as this will distort the cable. {See Figure 3.14.}

(6) Use only the crimping tool recommended by the manufacturer, or an equivalent tool when installing connectors which utilize a crimp-type contact.

c. Dual VOR/NAV Receiver Installations.

Two VOR navigation receivers can be connected to a common VOR antenna. This is accomplished by utilizing a coaxial tee connecter (UG-274 A/U) and matched 0.5 wavelength coaxial cable lengths connected from the tee connector to the respective VOR receivers. Typical cable lengths are from 22 to 35 inches and multiples of these lengths. Another method of coupling two VOR navigation receivers to a common antenna is by utilizing a device called a coupler or diplexer. This device,
in addition to impedance matching, also provides isolation between VOR navigation receivers while keeping line insertion losses at a minimum.

40. RANGE RECEIVING ANTENNAS.

Mount "T", "L", or "V" antennas on top or bottom of the aircraft with approximately 1 foot clearance from the fuselage and wings. Typical wire antenna installations are shown in figures 3.15 through 3.19. {See Figure 3.16} {See Figure 3.17} {See Figure 3.18}

41. MARKER RECEIVING ANTENNA.

The marker receiver operates at a frequency of 75 MHz. In order to keep to a minimum the number of antennas on the aircraft, the marker receiver may utilize the same antenna as the range receiver if that antenna is mounted on the underside of the aircraft. However, both receivers should include provisions to permit simultaneous operation without interference. A whip or other vertical type of antenna should not be used for marker reception since the ground facility transmits from a horizontally polarized antenna.

42. ATC RADAR BEACON (TRANSPONDER) AND DISTANCE MEASURING EQUIPMENT (DME) ANTENNAS.

Locate these antennas at an unobstructed location on the underside of the fuselage, preferably at the lowest point of the aircraft when in level flight. To the extent practicable, mount the antenna so that the base is horizontal when the aircraft is in cruise attitude.

a. Installation.

Mount the antennas at least 36 inches away from obstructions and as far as possible from other antennas. Tests have shown that the location of the antenna with respect to obstructions is of greater importance than having the antenna installed in a vertical position. However, signal strength and pattern become noticeably affected as the angle of the antenna approaches 45° from the desired vertical position. On fabric covered aircraft or aircraft with other types of nonmetallic skin, it will be necessary to provide a flat metallic surface or "ground plane" extending at least 12 inches in all directions from the center of the antenna. Be sure the antenna makes a good, direct electrical connection with the ground plane. Install gaskets, pressurization seals, and/or sealant as required. {See Figure 3.19.}  {See Figure 3.20.}

b. Dual System Installations.

When dual ATC radar systems, dual DME systems, or combinations of these systems are installed, determine that the separation between their respective antennas is within the manufacturers prescribed limits. (See paragraph 2-7i for mutual interference in DME and ATC radar beacon systems.)

c. Antenna Cable.

Route the antenna cable in the most direct path practicable. Since losses can be relatively high at these frequencies, follow the equipment manufacturer's recommendations regarding transmission lines and lengths.

43. DIRECTION FINDING ANTENNAS (100 to 1750 KHz).

Manual or automatic loop-type antennas are used with direction finding receivers. The loops are designed for use with a particular receiver. Connecting wires between the loops and receivers are also designed for the specific equipment. Accordingly, only components meeting the specification characteristics of the receiver manufacturer should be used.

a. Loops enclosed in streamlined housings or exposed loops are satisfactory for external mounting on an aircraft. Loops may also be flush mounted on the aircraft when proper attention is given to avoid interference from metallic structure and skin of the aircraft. {See Figure 3.21.}

b. Sense antennas are used to resolve radio bearing ambiguity in direction finding systems. The sense and its leadin must be matched to the input capacitance of the ADF receiver. The sense antenna capacitance is a function of length, spacing between antenna and fuselage, and leadin capacitance. To achieve this antenna/receiver capacitance match, it is important that the sense antenna be installed in accordance with the ADF manufacturer's recommendations for the particular make and model of aircraft.

c. Installation kits are designed for either top or bottom fuselage mounting of loop and sense antennas, or a combination of these two locations. Particular attention should be paid to the manufacturer's installation instructions for antenna location (top or bottom) and loop output connections, in order to prevent 180° errors in bearing indications.

d. Optimum ADF performance, is achieved when the "T", rather than the "L", type of sense antenna is used, (see figure 3.15). The "T" type has a noise canceling effect due to the antenna cable being connected in the center of the antenna. The "L" type antenna has directional characteristics and may not produce a definite station passage indication as the "T" type does. A whip antenna of a type and dimension recommended by the equipment manufacturer may be used in place of the "T" or "L" types. Methods of installing a whip antenna are shown in figures 3.1, 3.2, and 3.3.

e. Because the ADF receiver is susceptible to aircraft radiated noise, antenna leadins should be routed so that they are kept away from electric power cables, alternators, solid state power supplies, anticollision lights, pulse transmitting equipment, etc. They may be routed against airframe members for extra shielding.

f. Loopins should be of the recommended type and length. The length of leadin specified by the manufacturer for a particular installation may be excessive for the physical dimensions between the antenna and receiver. Excessive leadin should not be trimmed, but should be coiled to take up the extra length. Do not coil excess cable in any area subject to electrical noise.

g. After completing the installation, it is essential that the loop be calibrated. One acceptable means of compliance is contained in AC 43.13-1A. chapter 15, section 6, paragraphs 848 through 853.

44. ANTENNA INSTALLATION ON PRESSURIZED AIRCRAFT.

The use of doublers, to reinforce the aircraft skin to support antennas, is previously described in this chapter. The material contained in this paragraph concerns the methods of applying sealant to guard against the passage of air, liquids, and vapors from pressurized structures.

a. Typical Antenna Installation Procedure.

When the attaching parts and the antenna are ready for installation, clean all faying surfaces with a cleaning solvent. Clean a larger area than that to which sealant is to be applied. Remove the solvent from the faying surfaces by blasting with dry air and wiping with a clean soft cloth.

(1) Coat the affected area with the primer specified by the sealant manufacturer.

(2) Apply the sealant to one surface, using a spatula or brush, and spread it over the entire faying surface until a uniform thickness of approximately 1/32 inch is obtained. (See figure 3.22 and 3.23.)

(3) Place the component parts together and install the required fasteners. If permanent fasteners cannot be installed, use temporary fasteners to hold the component parts together until the sealant has cured. Install permanent fasteners with fresh sealant by dipping the fastener in sealant or by filling the fastener hole with sealant. (See figure 3.24.

(4) Fill holes and joggles by injecting the sealant into the voids and/or cavities. This method is used where the sealant cannot be applied with a spatula or brush. Figure 3.25.

(5) Allow the sealant to cure, then remove excess sealant from the periphery of the antenna using a nonmetallic scraper.

Warning

Sealants may contain toxic, and/or flammable components. Avoid inhalation of vapors. Supply adequate ventilation and provide a suitable exhaust system. Wear approved respiratory protection while using these materials in confined areas. Do not allow the sealant to come in contact with the skin or eyes. Insure that no source of ignition is present in the working area.

b. High Speed Aircraft.

The sealant methods described should be used to prevent moisture or water from entering the aircraft and the expulsion of air and vapors when the aircraft structure is pressurized.

(1) Figure 3.26 displays a blade type antenna mounted on a flat surface using a sealing gasket. This type of installation does not require the application of a sealant.

(2) Figures 3.27 and 3.28 display two types of flush mounted antennas. The antenna unit and fiberglass cover are manufactured as one integral assembly.

(3) Flush mounted antennas installed on a vertical fin are normally part of the primary structure. The radiating elements of the antenna and the fiberglass cover are individual units.

(a) Clean all metal surfaces necessary to insure good electrical bonding contact between the antenna mounting surface and the aircraft structure.

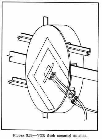
(b) After the fiberglass cover is installed, sealer may be applied to fill the space between the fiberglass cover and skin of the vertical fin. Figure 3.29 displays one-half of a vertical fin antenna installation. An identical installation is required on each side.

45. - 50. [RESERVED]