METHODSOFILLUSTRATINGOBJECTS METHODS OF ILLUSTRATING OBJECTS

A number of methods are used to illustrate objects graphically. The most common are pictorial drawings, orthographic projections, and diagrams.

Pictorial Drawings
 
A pictorial drawing, figure 2-6, is similar to a photograph. It shows an object as it appears to the eye, but it is not satisfactory for showing complex forms and shapes. Pictorial drawings are useful in showing the general appearance of an object and are used extensively with orthographic projection drawings. Pictorial drawings are used in maintenance, overhaul, and part numbers.

Orthographic Projection Drawings

In order to show the exact size and shape of all the parts of complex objects, a number of views are necessary. This is the system used in orthographic projection. In orthographic projection there are six possible views of an object, because all objects have six sides - front, top, bottom, rear, right side, and left side.

Figure 2-7(a) shows an object placed in a transparent box, hinged at the edges. The projections on the sides of the box are the views as seen looking straight at the object through each side. If the outlines of the object are drawn on each surface and the box opened as shown in 2-7(b), then laid flat as shown in 2-7(c), the result is a six view orthographic projection.

It is seldom necessary to show all six views to portray an object clearly; therefore, only those views necessary to illustrate the required characteristics of the object are drawn. One view, two view, and three view drawings are the most common. Regardless of the number of views used, the arrangement is generally as shown in figure 2-7, with the front view being the principal one. If the right side view is shown, it will be to the right of the front view. If the left side view is shown, it will be to the left of the front view. The top and bottom views, if included, will be shown in their respective positions relative to the front view.

One view drawings are commonly used for objects of uniform thickness, such as gaskets, shims, and plates. A dimensional note gives the thickness as shown in figure 2-8. One view drawings are also commonly used for cylindrical, spherical, or square parts if all the necessary dimensions can be properly shown in one view.

When space is limited and two views must be shown, symmetrical objects are often represented by half views, as illustrated in figure 2-9.

Aircraft drawings seldom show more than two principal, or complete, views of an object. Instead, generally there will be one complete view and one or more detail views or sectional views.

Detail View

A detail view shows only a part of the object but in greater detail and to a larger scale than the principal view. The part that is shown in detail elsewhere on the drawing is usually encircled by a heavy line on the principal view. Figure 2-10 is an example of the use of detail views.

The principal view shows the complete control wheel, while the detail view is an enlarged drawing of a portion of the control wheel.

Sectional Views

A section or sectional view is obtained by cutting away part of an object to show the shape and construction at the cutting plane. The part or parts cut away are shown by the use of section (crosshatching) lines.

Sectional views are used when the interior construction or hidden features of an object cannot be shown clearly by exterior views. For example, figure 2-11, a sectional view of a coaxial cable connector, shows the internal construction of the connector. This is known as a full section. Other types of sections are described in the following paragraphs.

Half Sections

In a half section, the cutting plane extends only halfway across the object, leaving the other half of the object as an exterior view.

Half sections are used to advantage with symmetrical objects to show both the interior and exterior. Figure 2-12 is a half sectional view of a quick disconnect used in aircraft fluid systems.

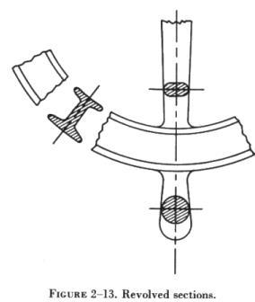
Revolved Sections

A revolved section drawn directly on the exterior view shows the shape of the cross section of a part, such as the spoke of a wheel. An example of a revolved section is shown in figure 2-13.

Removed Sections

Removed sections illustrate particular parts of an object. They are drawn like revolved sections, except that they are placed at one side and, to bring out pertinent details, are often drawn to a larger scale than the view on which they are indicated.

Figure 2-14 is an illustration of removed sections. Section A-A shows the cross-sectional shape of the object at cutting plane line A-A. Section B-B shows the cross-sectional shape at cutting plane line B-B. These sectional views are drawn to the same scale as the principal view; however, as already mentioned, they are often drawn to a larger scale to bring out pertinent details.